|
В уравнениях движения кривошипно-шатунного механизма вместо обозначения радиуса кривошипа "r" ошибочно записан символ "?" (гамма). P.S. Может быть это слишком очевидно, но не упомянуто, что угол поворота кривошипа ? считается малым. |
Компьютерное моделирование при обработке опытных данных
Программирование формулы Ньютона
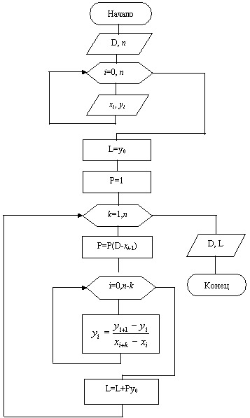
Для построения многочлена Ньютона по формуле (11.7) организуем циклический вычислительный процесс по
. При этом на каждом шаге поиска находим разделенные разности k -го порядка. Будем помещать разделенные разности на каждом шаге в массив Y.
Тогда рекуррентная формула (11.8) будет иметь вид:
![]() |
( 11.9) |
В формуле Ньютона (11.7) используются разделенные разности k -го порядка, подсчитанные только для участков [x0, x0+k], т.е. разделенные разности k -го порядка для i=0. Обозначим эти разделенные разности k-го порядка как у0. А разделенные разности, подсчитанные для I > 0, используются для расчетов разделенных разностей более высоких порядков.
Используя (11.9), свернем формулу (11.7). В результате получим
![]() |
( 11.10) |
где
у0 - значение табличной функции (11.1) для x=x0.
- разделенная разность k-го порядка для участка [x0, x0+k].

Для вычисления Р удобно использовать рекуррентную формулу P = P(x - xk-1) внутри цикла по k.
Схема алгоритма интерполяции по Ньютону представлена на рис.11.4.
Пример интерполяции по Ньютону
Дана табличная функция:
Вычислить разделенные разности 1-го, 2-го, 3-го порядков (n=3) и занести их в диагональную таблицу.
Разделенные разности первого порядка:

Разделенные разности второго порядка:

Разделенная разность третьего порядка:

Интерполяционный многочлен Ньютона для заданной табличной функции имеет вид:

Далее полученный интерполяционный многочлен Ньютона можно привести к нормальному виду



